篇幅太长了,所以拆成小短帖子,后续整备跳转的链接
5.沃尔沃XC60 SPA 3平台,偶发无法打开车门 没太好的解决办法
本贴主要整备内容:更换左右半轴油封、安装铝合金护板、跟换机油机油滤芯和进气滤芯、跟换发动机右上和右下机脚胶、更换发电机的单向轮(解决发动机咕叽咕叽的噪音)
其实欧洲国家大部分人都是自己修车,主要投入是在配件上,那么养车费用会大幅降低,这个角度来看其实欧系车更合适动手能力强的开,不然有点冤大头的感觉,真正不用操心的只有日系只是跟换机油、刹车片、刹车油、火花塞、空调滤芯、进气滤芯等易损件就可以开到报废。
沃尔沃的配件价格特别昂贵是远高于奔驰宝马的价格,所以能用破解版的平替就尽量用,比如一些电子元件为了防止被山寨它把里面的电阻电容的代号给擦掉,要山寨很麻烦需要拆解进行测量。
-----------------------------------------------------------------------------------------------------------------------------------------------------------------------------------分割线------
亲戚年龄太大了开车经常擦挂,干脆就把这台跑了22万公里的沃尔沃XC60的送给晚辈些开,问了一圈这些晚辈都没人要,估计是怕这车维修和保养费钱,另外是觉得车太老气了。。。但是我一揭开发动机盖一看是直列6缸,这我觉得有意思,直六我见过不少也开过,,但是横着的第一次见啊,,,当即一拍脑袋说德勒~我要了,请放心我一定好好照顾!

打开机舱那一刻,惊艳到我了。
发电机是新的,但是已经坏了,为啥老坏?因为是博世公司的。
压缩机是日本三电SANDEN的就没坏过
!
AI验证本帖给出的结论:该帖子本质是 “冷门老豪华 SUV 整备案例”,核心价值在于揭示了 “福特时期沃尔沃” 的技术特性(依赖丰田系供应链保障可靠性),同时为同类车型车主提供了高性价比的整备参考,也反映了老豪华车 “核心部件耐用、电子部件易损” 的普遍规律。

TF-80SC是爱信的6AT 爱信的AT变速箱可靠性是毋庸置疑的好!

这车当时不太好买,还加钱了的,最终是花了70W落地


右边经常刮擦 不知道为啥,每次出几千的保险都是右边 ,右边从头到尾 年年都报保险,估计保险费用涨的厉

背景就介绍到这
说说这车到底可靠性如何,我又整备了什么东西?

第一部分是更换机油,距离上次保养已经间隔1.5万公里了 保养灯亮了很久了。
京东官方店中石化的A5 B5级别的机油0W-30,408元一共8L,实际只需要加注6.8L;
机油滤芯和进气滤 马勒官方 84.51元
机油+滤芯合计 492.51元

这么单薄的发动机机脚,我猜是为了碰撞时让发动机掉落,不让侵入车内的一种保护吧
第二部分更换发动机的机脚,上面看到明显已经裂开了


更换这两个机脚的材料260元

左边半轴在漏油



变速箱输出到右边分动箱连接处漏变速箱油

这个啮合齿的花键挺细的,也会磨损,目视感觉还行 按上去也没蹿动
这个啮合齿的花键如果磨没了,就会没四驱,还容易响,齿套在里面蹿动更容易漏油

分动箱非常小,其实就是一个把横向驱动力转为纵向传输给后桥




有锈喷点除锈剂然后打黄油

右边的半轴

第三部分变速箱的前差速器输出漏油,更换左半轴油封和右边变速箱与分动箱连接处的油封
右边分动箱与变速箱连接的这两油封比较贵90一个,两个就是180,小的没坏没有更换
左边的便宜60一个
油封合计240元

左边半轴的密封圈22-23


第四部分加油跳枪
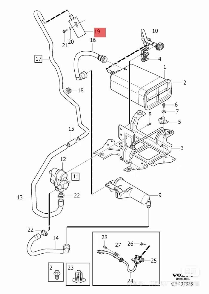
发现这车还有一个东西叫灰罐,在有后轮附近,拆下来吹掉灰尘观察一下

灰罐先清理一下看看

第五部分发动机护板
这车下面是塑料护板,非常薄,而且下面还有塑料的进气管道

铝合金护板的螺丝和垫片卖家也不齐了


这个铝合金护板闲鱼卖家卖395,讲价到370元包邮,卖家也是成都的。

水箱下面保护也很脆弱,需要加强,后面在观察一下

第六部分空气质量和过户
用便携式检测都是良好状态,过户让串串去办的花了490元
第七部分发电机异响,类似电锯一样的怪声,摸发电机明显感觉到震动,查了一下这发电机初步判断是单向轮发出,淘宝购买,还未到货

发电机在2020.7.9日更换总成8209元,加救援和工时费一共10216元

这车到手除了加油总共花费
1.机油+滤芯合计 492.51元
2.更换这两个机脚的材料260元
3.油封合计240元
4.铝合金护板370元
5.过户490元
6.发电机单向轮130
7.维修工时费还未结算
目前花了1982.51元,大家觉得划算吗?

这台车的保养很少按时保养,但发动机和变速箱没啥毛病,除了半轴漏油,纯发变就没维修记录,如果从能跑到角度来看可靠性并不差!
当然如果看什么摄像头接触不好,车钥匙感应不上,电动尾门按钮按了没反应,,,这些车身电器的角度看就是一坨X毫无可靠而言
这个3.0T的发动机和爱信6AT的稳定也不是沃尔沃的功劳,因为他的高压包是电装的标都没去,火花塞是NGK的,其他空气流量计、节气门虽然写的是FOMOCO福特零件公司的,但外形和电装的一样,基本上可以确定这台发动机的电控部件就是电装制造打的福特标。。电装、NGK、爱信背后的大股东是丰田,这才是可靠性高度根本原因~!
发动机使用的技术也是偏向可靠性取向,进气歧管喷射而非直喷技术,大大的降低了积碳的产生,以及避开了高故障直喷技术。
可变气门技术和福特3.5共享,并且没使用机械增压+涡轮增压技术的双涡轮技术,而是双涡管涡轮技术,结构简单可靠!
---------------------------------2025 12 17更新工时费结账花了400元

拆下来的发电机单向轮 找淘宝卖家确认是山寨的
拆下来的所谓花了8千元的发电机也是山寨的不是原厂上面没有任何沃尔沃的LOGO 甚至连博世的LOGO都没有,,所以店大欺客的情况不少,不是表面看上去正规他就真的管理正规!一定要避坑

-------------------------------------------------------分割线 2025-12-20更新
当然没有完美的发动机,为了塞进去横向布局的直列6缸发动机,对附件进行了大调整,附件安装在变速箱上面和发动机的侧面,用了好几个单向轮,单向轮容易坏。水管比较多而且塑料软管的O型密封圈也容易老化;真空泵的密封圈和连接两个单向轮的输出轴密封圈也会老化漏油;PCV阀膜片容易撕裂导致怠速发出嘶嘶声;其他什么缸盖漏油那些都好处理铝合金缸盖涂厌氧密封胶就行了

非常巧妙,螺蛳里面做道观的感觉。
主READ齿轮的轴承经常会坏掉,坏掉后发动机前部靠近发电机皮带轮地方会发出噪音。如果不解决这些噪音可能导致齿轮驱动磨损。


沃尔沃SI6采用了齿轮传动和链条传动的奇特组合来保持凸轮轴与曲轴同步,真是疯
糟糕的地方是因为READ零件都藏在发动机内部,所以别指望维修费便宜
----------------------------------------------------------------------------------------------------------------------分割线下面为2025.12.28






最近新整备了7-11,费用一下就到4500元了
游客
扫码下载
汽车之家APP
随时获取
最新汽车资讯