点击:0 | 回复:5 景程论坛 >  想知道新景程冷却液的循环流程
只看楼主 收藏本帖 热门标准
发表于 2023-2-9 16:15:11

想知道新景程冷却液的循环流程

 



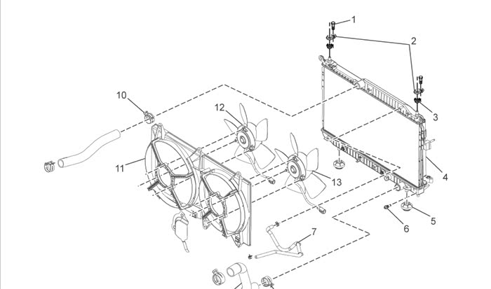
       想搞清楚新景程冷却系统整个循环过程,分节温器关闭前和打开后冷却液的详细走向过程。有知道的麻烦说一下,先谢谢各位了!我车水箱进机油了,想自己清洗下
      麻烦问一下水箱拆下来,水还能不能进行小循环?麻烦问一下水箱拆下来,水还能不能进行小循环?
想分开洗一下水道。想分开洗水道和水箱。因为我那个水箱没排水口,放水的话只有拆管子

[ 本帖最后由 光光10 于 2023-02-28 14:53:58 编辑 ]
 
分享到:
0
1 / 1 页
到第
 

高级模式

0/5000字

您确认要删除这条回帖吗?

提示

您是否确认将回复优先展示,扣除300积分?

您已被楼主屏蔽,不能回复该帖子